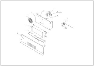
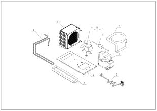
C-SP27-12BT-HC Replacement Parts

27″ – 12 Pans, Big Top Sandwich Prep Table

You are shopping for replacement parts for a 27″ – 12 Pans, Big Top Sandwich Prep Table. View the full product page here.

Downloads

Sustainability

Migali’s refrigeration products utilize R290 refrigerant – an all natural, non-toxic refrigerant that yields up to 40% in energy savings.