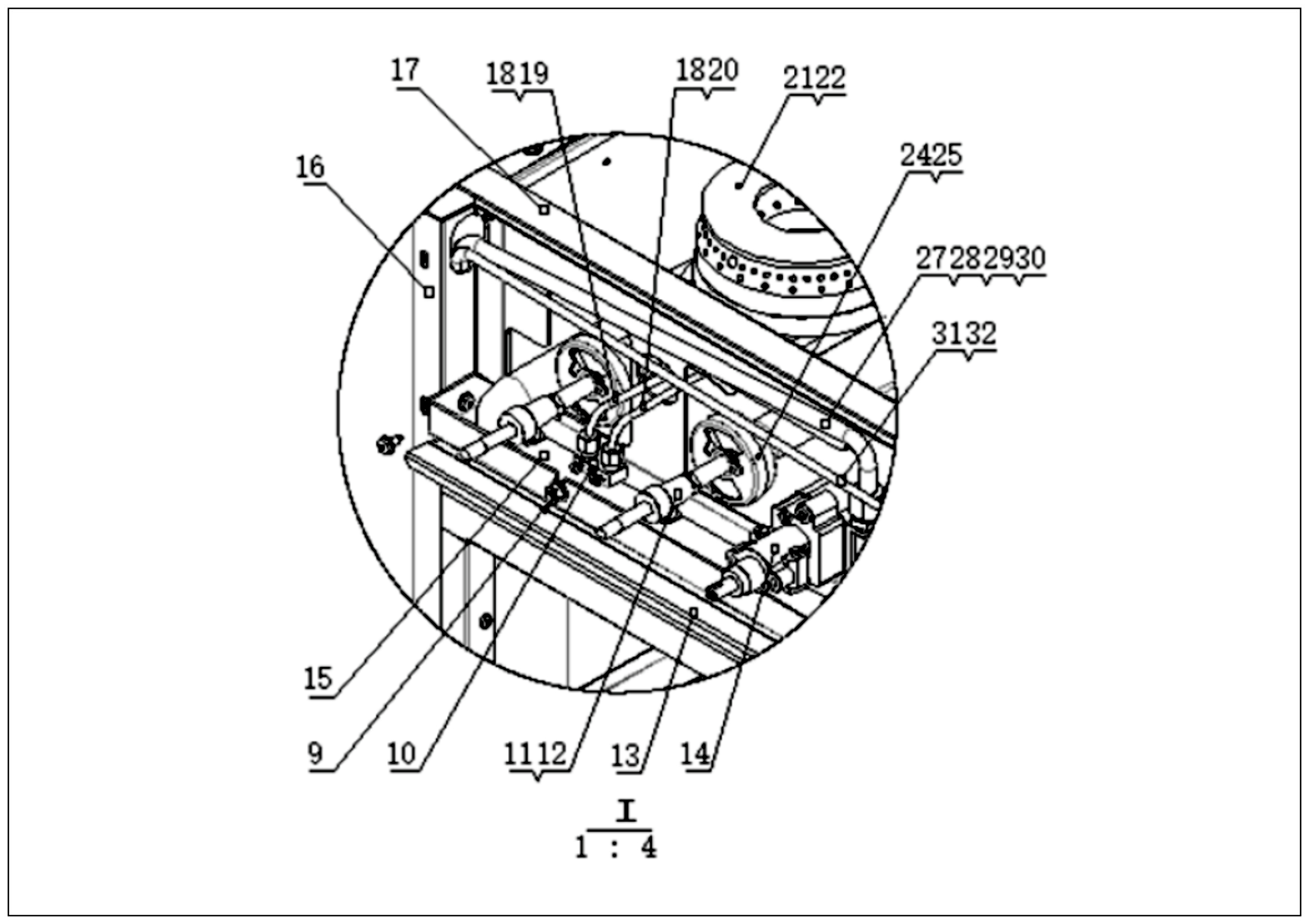
Stopcock Assembly Replacement Parts
Search Results for
Parts
Diagram

9
10
11
12
13
14
15
16
17
18
18
19
20
21
22
24
25
27
28
29
30
31
32
Parts
Click on any of the numbers below to highlight the part on the diagram above
Sustainability
Migali’s refrigeration products utilize R290 refrigerant – an all natural, non-toxic refrigerant that yields up to 40% in energy savings.

