Stopcock Assembly Replacement Parts
Search Results for
Parts
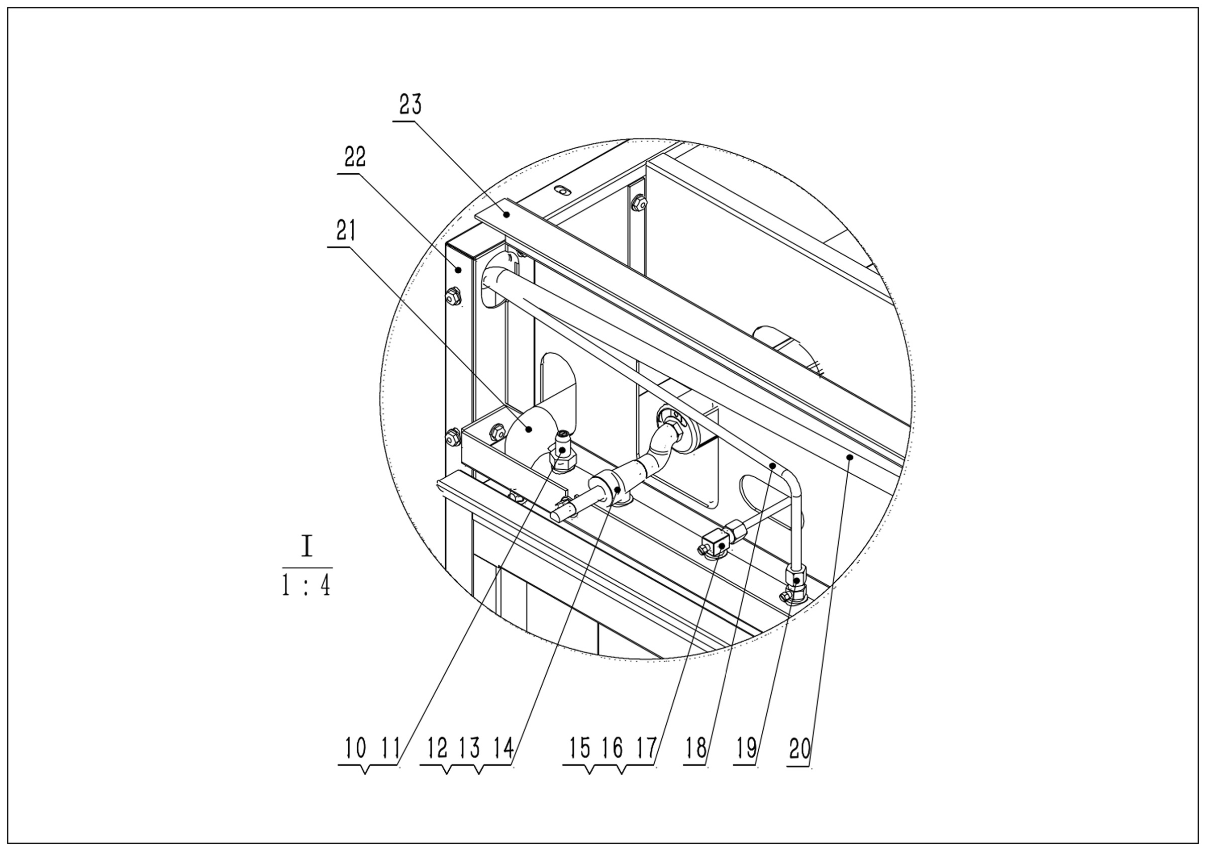
Diagram

10
11
12
13
14
15
16
17
18
19
20
21
22
23
Parts
Click on any of the numbers below to highlight the part on the diagram above
Parts Not In Diagram
Sustainability
Migali’s refrigeration products utilize R290 refrigerant – an all natural, non-toxic refrigerant that yields up to 40% in energy savings.


