Main Overview Replacement Parts
Search Results for
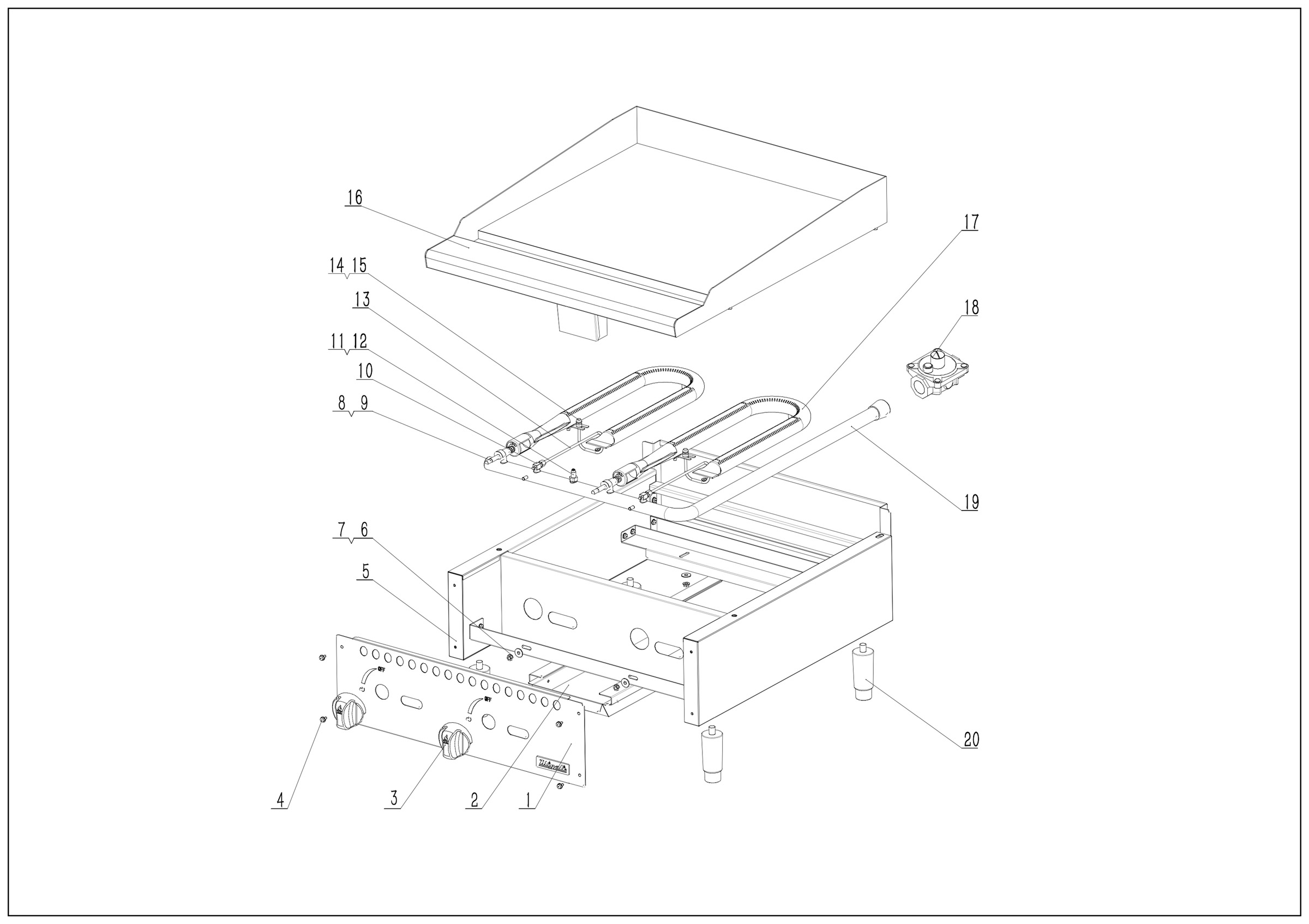
Parts
Diagram

1
2
3
4
5
6
7
8
9
10
11
12
13
14
15
16
17
18
19
20
Parts
Click on any of the numbers below to highlight the part on the diagram above
Sustainability
Migali’s refrigeration products utilize R290 refrigerant – an all natural, non-toxic refrigerant that yields up to 40% in energy savings.

